图知网
搜索
首页
热门推荐
图片分类
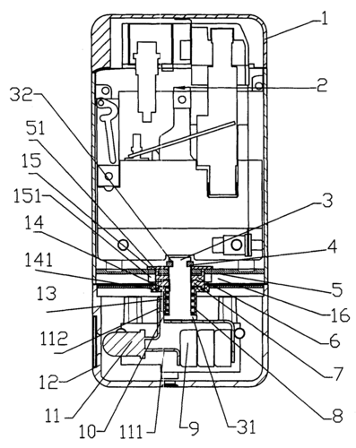
一种直冲明火打火机制造技术
下载原图
相关图片
一次性打火机工作原理
百诚百诺bnc003 复古老式砂轮点烟军工纯铜烟斗点火器个性打火机
正版打火机结构图原装进口收藏防风打火机男士生日礼物
cn200972147y_改良结构的安全型打火机失效
cn200946821y_一种带有发光装置的打火机失效
首领檀木创意摇臂老九门打火机煤油防风国产老式煤油打火机
为你推荐
解开沪上皇秦奋的神秘面纱王思聪膜拜原来他是这样的人
"白象精"大家是否还记得呢?
景甜晒短发照
iphone 建模课程作业(2014)
国潮风livehouse酒吧设计案例.本项目为韶关k.one - 抖音
kaws式和龙王角式的椰子鞋鞋带绑法
羊鞭羊宝油腰羊板内蒙羊产品冷链物流全国发
2020"售楼处的春天"——四川成都大邑云上旅游度假区