图知网
搜索
首页
热门推荐
图片分类
数显游标卡尺ppt 教育训练合集,分享 基本结构
下载原图
相关图片
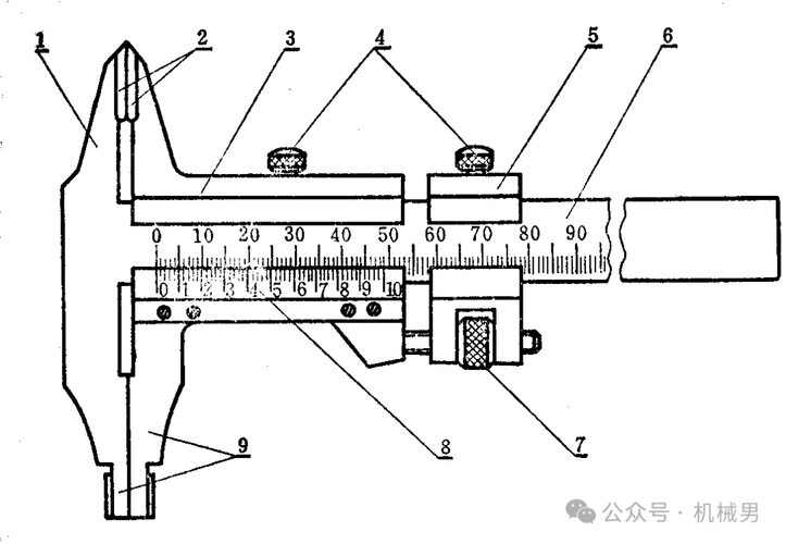
机械男——手把手教你使用游标卡尺
游标卡尺结构,原理图,使用方法,读数方法!
📏游标卡尺读数大解析📐
游标卡尺结构 原理图 使用方法 读数方法
今天咱们来了解下游标卡尺怎么读数,一下想起了在电校的时光#电
游标卡尺的结构
为你推荐
南沙游艇会
遵义市城市总体规划20082030年
【2022花京院典明生贺】the first meet
奔跑吧郭麒麟
花藤特殊字体生成器
alizée 翻唱的 la isla bonita
安井夹心鱼饼2.5kg包馅火锅丸子串串香关东煮麻辣烫烧汤冷冻食材
东风嘉实多齿轮油85w90