图知网
搜索
首页
热门推荐
图片分类
点赞下载 萨祖圣诞 福利壁纸!玄风永振 代天宣化 农历玖月廿 - 抖音
下载原图
相关图片
老祖天师宝诰
道教正一祖天师宝诰
老祖天师宝诰志心皈命礼泰玄上相.扶教三天.鹤鸣山上得真传.
祖天师宝诰
夏至庆贺上清真境灵宝天尊圣诞
今天是农历三月廿八,乃东岳大帝圣诞 东岳大帝宝诰 志心皈命礼.
为你推荐
每日插画|歌姬画师秋赤音!把纯粹色怼在一起,就问谁敢这么玩!
赵丽颖《男人装》杂志封面大片,美腿诱惑火辣身材竟然这么有料
flight rising discussion
冰淇淋简笔画怎么画?
这些开发出的声音所衍生的虚拟感受在同人的设定中,都一个大家族的
18cm大号软胶持剑迪玛伽怪兽儿童德隆超人人偶大模型摆件玩具可动
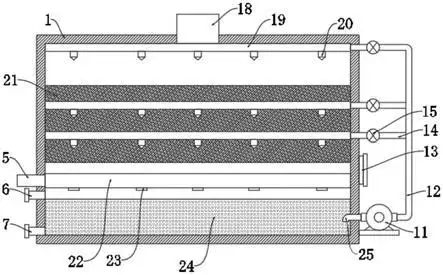
一种用于恶臭气体净化的生物除臭滴滤箱的制作方法
空天母舰是神盾局的空中堡垒,首次登场《复联》中,可用于运输,救护