图知网
搜索
首页
热门推荐
图片分类
0成交0件化纤喷水织机喷水织布机青岛喷水织机851双喷电子储纬喷水织
下载原图
相关图片
适用于喷水织机维修图解技术单喷平机2册织布机修工保全配件工具单喷
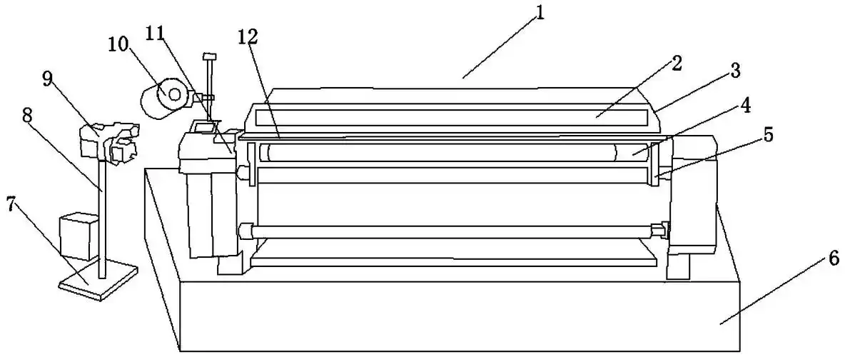
一种喷水织机废水回收利用装置的制作方法
长期供应jw900双经轴高速重磅喷水织机
旧机械进口报关流程是怎么样的|旧喷水织机进口清关注意事项
yf851 单喷嘴喷水织机织机使用 tsudakoma 模型重型纺织织机
一种喷嘴可调节的凸轮开口喷水织机-爱企查
为你推荐
烫发图片女2021最新款(长头发烫发图片女2021最新款) - 泉兴百科
串珠图纸分享菱珠十字花吊坠
矢量简易木质衣架png素材透明免抠图片-装饰效果-三元素3png.com
火影忍者漩涡鸣人
钟风华西游记系列
火线传奇:烈锋对玫瑰严刑拷打,都不让她说话了
citrus# 第1话 ed的图,美爆
红桥红恭王府寿字纹圈椅