图知网
搜索
首页
热门推荐
图片分类
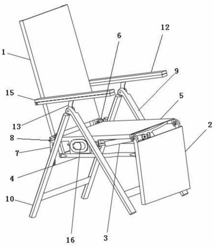
本实用新型涉及躺椅技术领域,特别涉及一种便于拆装的不锈钢摇椅.
下载原图
相关图片
一种能提高舒适度的躺椅靠背的制作方法
05.如何一步一步制作折叠躺椅
一种躺椅的制作方法
一种伸缩躺椅的制作方法
一种折叠式躺椅的制作方法
一种稳固折叠午休躺椅的制作方法
为你推荐
杨颖穿露腰运动装马甲线抢镜 梳高马尾辫笑容灿烂
高雅拉韩国女星高清写真图片
首演环保法官高伟光跳出舒适区挑战现实题材
国外的超写实彩铅逼真得不像话
1888年,建造埃菲尔铁塔.最早的麦当劳叔叔,willard scott.
创意咖啡馆约会的2个女子矢量图
贴金箔自在南海观音佛像铜像金身家供禅定彩绘观世音菩萨摆件30厘米
侠之大者:素全法师与他的108个罗汉娃|产妇|108罗汉娃_新浪新闻