图知网
搜索
首页
热门推荐
图片分类
wns110q1吨燃气锅炉
下载原图
相关图片
锅炉燃烧器无法点火的原因及解决方法
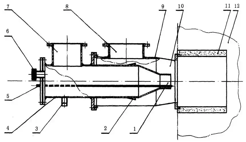
煤粉燃烧器结构图
燃烧器基本介绍 锅炉同燃烧器的连接示意
燃烧器结构
一种适用于燃焦炉煤气锅炉的燃烧器
供应燃气真空锅炉清洁纯净
为你推荐
彰显家庭地位的情侣头像
cp头像一对动漫二次元好看的高清动漫cp头像情侣一对图片
山内樱良壁纸 樱良壁纸-图片大观-奇异网
圆滚滚头像原神史莱姆合集
【虎航大邱开航】首尔,釜山out!
雪人像素头的补丁
当年的快女六强李斯丹妮再参加选秀唱功依然是硬伤