图知网
搜索
首页
热门推荐
图片分类
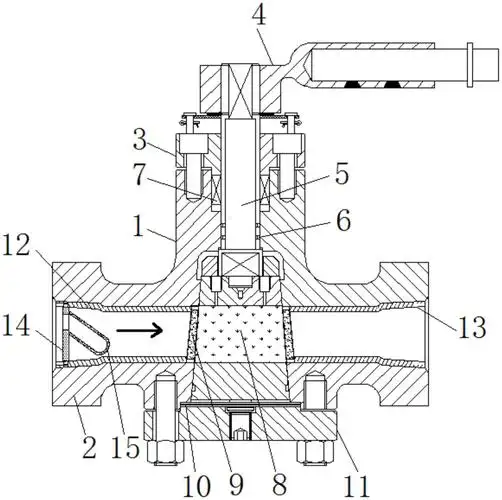
调节型特种合金旋塞阀
下载原图
相关图片
首先来看一下旋塞阀主体结构的剖面图:那么国产的旋塞阀是如何满足
旋塞阀的作用及结构图分析-本站原创新闻资讯-工博士
提升式旋塞阀
cn102162532b_一种低温高压压力平衡式旋塞阀有效
cn213236144u_一种旋塞阀有效
旋塞由阀芯和阀瓣组成圆柱体形状,阀芯流道通孔的两侧通过燕尾槽结构
为你推荐
这一夜,38岁彭冠英和25岁林一同框,才知道身高对男人有多很重要
刘昊然
"妈妈专业户"刘莉莉,实力派老戏骨,丈夫也是老演员
【别人说你金刚芭比怎么回复】看过jennie的腹肌,手里的鸡架都不香了
香港直邮预售15天发货美国lamer海蓝之谜鎏光焕变气垫粉底液12gx203
大兴安岭野生整马尾松子盐水煮小松树籽坚果真空装克新货食用
结婚对联 上联燕尔新婚 下联百年嘉偶 上联珠联璧合 下联鸾凤和鸣
美术考编四格漫画