图知网
搜索
首页
热门推荐
图片分类
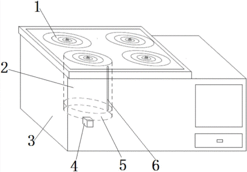
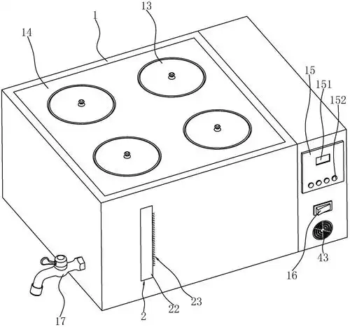
一种带有支架的水浴锅
下载原图
相关图片
一种水浴锅
一种电热恒温水浴锅制造技术
一种电热恒温水浴锅的制作方法
一种用于实验的数显恒温水浴锅的制作方法
一种水浴锅的制作方法
一种防结垢恒温水浴锅制造技术
为你推荐
10岁一12岁儿童短发发型女孩10周岁左右学生短发发型图片
杨幂现身代言活动,光腿穿阔腿短裤不怕冷,一双竹竿腿不输精修_品牌
真爱一世情自制 李羿慧 歌谱 简谱
《中国好声音》李健高清图片,明星,高清,中国好声音第五季,中国好声音
脏脚,脏脚,棕色的,夏天,在户外,颜色,脚,腿,自然,在下面,灰色,乐趣,人
地中海最大的岛屿西西里岛
【明心书院主班周记】三年级第十八周