图知网
搜索
首页
热门推荐
图片分类
第1页 (共25页,当前第1页) 的相关文档搜索 相关文档 机械设计基础
下载原图
相关图片
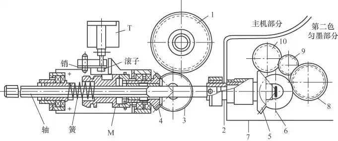
图2-14为j2203,j2205胶印机第二色组的机械离合器结构图.
800套经典机械结构设计非标自动化solidworks模型库sw机构3d图纸
经典斜齿轮加工传送输送机整体节结构
分类 高中教育 语文 > 铰链四杆机构 (精品 课件 素材)机械设计基础
典型机械零件设计.doc 8页
其他常用机械传动机构ppt
为你推荐
一年级简笔画,二年级简笔画,倾听,假期,假期生活,儿童画,分步简笔画
平面和产品
隋棠喂奶画面曝光!姿势有亮点,网友狂赞
刘耀文
龚俊simon
你可能喜欢 腰间盘突出康复治疗 腰椎间盘突出症康复 脊柱解剖 股骨头
深化女企业家领航计划 培树高能级女企业家队伍——江苏省妇联举办新
燕郊爆炸威力相当于至少100公斤tnt 大量居民紧急疏散