图知网
搜索
首页
热门推荐
图片分类
时风自卸低速货车 sf1710pd12
下载原图
相关图片
时风时风路路畅通
时风自卸低速货车 sf1410d3
时风牌低速货车
多媒体中控大屏堪比特斯拉这还是我们熟悉的时风蓝牌自卸车吗
时风低速货车 sf1410p
时风四轮 - 宿州萧县二手摩托车 - 萧县百姓网
为你推荐
梦中的兰花花简谱-程东图演唱-刘建东/刘建东词曲1
榆树盆景,遇见有榆钱
温柔的侧脸~动漫情头9795 日落尤其温柔,人间皆是浪漫……78
质女装t恤衫时尚妈妈刺绣翻领t恤中老年人长袖休闲t恤大码宽松上衣女
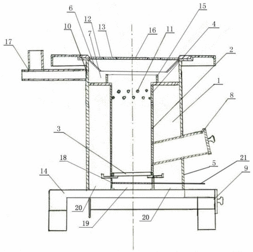
一种二次进风高效节能炉制造技术
河北石家庄最个性的七大特色美食
久保田688q收割机价格18年的久保田758履带收割机新鲜出炉
青花瓷简谱乐谱