图知网
搜索
首页
热门推荐
图片分类
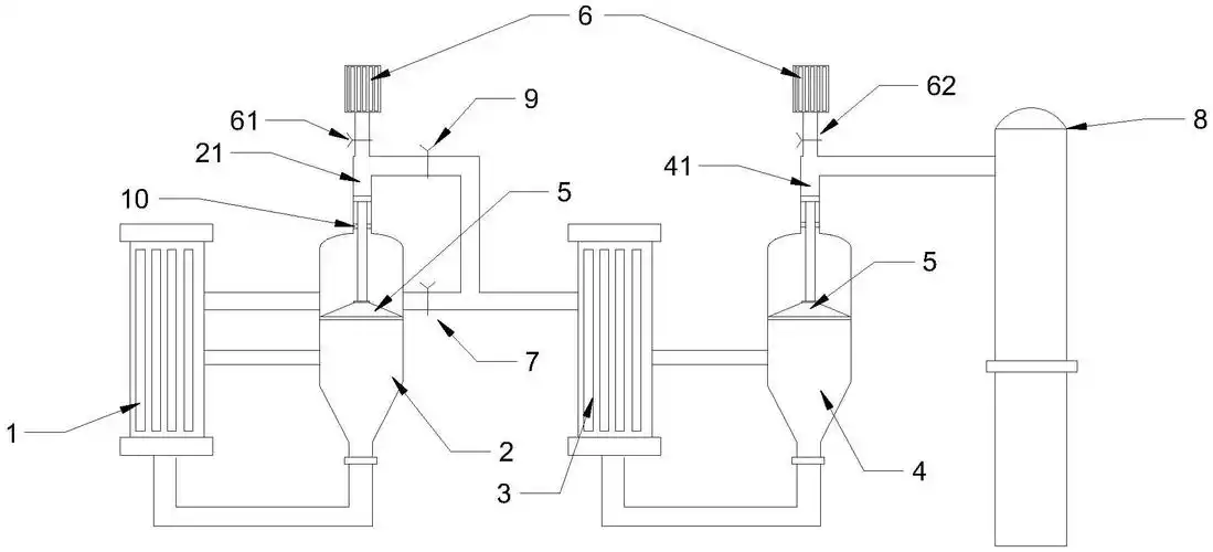
双效蒸发器浓缩设备
下载原图
相关图片
强制循环式热泵双效浓缩器
热泵外加热式双效浓缩器
梅州双效真空浓缩器
一种新型双效浓缩器的制作方法
cn211885429u_一种易清洗的双效浓缩器
节能双效浓缩器
为你推荐
黎明的日出
手绘科尼塞克
白羊吉他谱-1
"true love is a real treasure" - times square, manhattan nyc
爱心熊表情包超可爱哒
创意美术 #线描 #黑白装饰画 #戴珍珠耳环的少女 - 抖音
戏帽简笔画
65集向草莓,葵,兰说明是凉川直人的姐姐.