图知网
搜索
首页
热门推荐
图片分类
几十万人围观的柴火灶图纸来啦 最近很多宝子私信我要柴火灶的图纸
下载原图
相关图片
砌造省柴灶的方法和图纸
谁有 农村烧柴土灶的建造图,给发一张白
cn113108326a_柴火集成灶在审
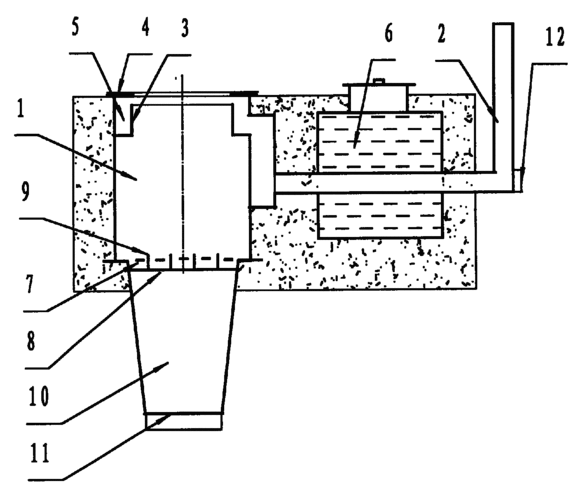
一种柴火灶的制作方法
旺乡邻不锈钢柴火灶xw901双灶家用可移动省柴灶新式土灶台
农村柴火灶图纸
为你推荐
男生锅盖头需要烫头发吗 圆形盖头发型男
嘉陵的落幕-嘉陵jh系列越野摩托车回顾
又一艺考女生走红,气质出众颜值高,网友直呼"从头美到脚"_身高_身材
618狂欢购后晒kmax康麦斯egcg胶原蛋白肽饮美丽新宠
奔驰b200 b180 b260大视野白镜蓝镜防眩目加热反光镜后视倒车镜片
受死吧
大秧歌中,刘芊含饰演:赵香月,即玉梅的丫鬟,玉娘的妹妹,海猫的小姨.
家庭火灾逃生路线图