图知网
搜索
首页
热门推荐
图片分类
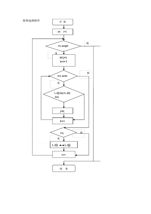
排序算法之希尔排序
下载原图
相关图片
希尔排序一般流程
排序---希尔排序
希尔排序一般流程
看图说话排序算法之希尔排序
数据结构简单选择直接插入快速排序冒泡排序希尔排序堆排序算法比较
5.希尔排序
为你推荐
张信哲 信仰 4k高清画质
励志语录路要向前走人要向前看知足且上进温柔且坚定
【烟鬼组合】3.29tcs6首单—addicted一分钟音源提前听
绿色系配色
daylight-平凡职业造就世界最强第二季op双手简谱预览1
hk-bm1116 肺解剖模型 详情
菜(国家级非物质文化遗产项目);下午参观 尼山圣境,在 孔子六艺城观看
连续剧《雪山飞狐》片尾曲《追梦人》的真正原唱风飞飞完美演绎