图知网
搜索
首页
热门推荐
图片分类
什么是旋风炉
下载原图
相关图片
火箭炉制作过程
各式火箭炉合集
火箭柴炉 火箭炉[相关知识]
各式火箭炉合集
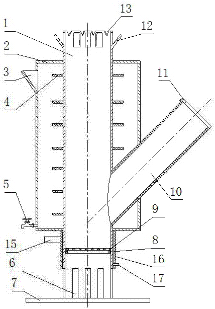
一种火箭炉的制作方法
火箭柴炉rocketstove
为你推荐
情侣头像丨67时间真的很神奇你永远不知道它会如何改变你
贝蒂 029969♀15临了一幅也是很爱的下腰女孩96@周日央
内娱男明星包包大盘点——lv代言人朱一龙 昨天发了两期有关娜比和
pep新版小学六年级上册单词表
明星大型撞脸合集不能说毫无差别只能说是一模一样
中国国际大学生时装周
中国行政区划空白图.doc 8页
俏佳人电影宝库系列金光大道中(vcd)