图知网
搜索
首页
热门推荐
图片分类
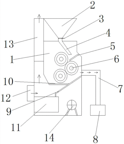
一种二次选壳砻谷机-爱企查
下载原图
相关图片
砂盘砻谷机主要工作部件是与铸铁圆盘粘结为一体的环形金刚砂盘,上
砻谷机
武汉轻工大学虚拟仿真实验教学中心
农业林业园林畜牧业肥料饲料的机械工具制造及其应用技术
一种大米用砻谷机的制作方法
一种节能环保的砻谷机的制作方法
为你推荐
女生动漫头像帅气高马尾 动漫头像图片大全 -【爱个性】
十年之约毛笔艺术字免抠下载
驰援孝感|5位姑娘剪掉长发剃了光头:"为了这场战疫,我们愿意"
这里姬野是在想羽然吧?嘻嘻(˙)˙)
气质女神范风衣女新款春秋季收腰系带中长款高端大气外套大码潮
钢格板,热镀锌格栅板,水沟盖板,平台钢格板,踏步板
格子
月半小夜曲简单版双手简谱预览1