图知网
搜索
首页
热门推荐
图片分类
适用适用于小米11尾插小板充电送话sim卡座卡槽读卡全新快充主板排线
下载原图
相关图片
电源线扣 电缆线卡线扣 尼龙线扣
卡头如何连接
展开全部 排线插口有个卡扣,往上掰,能掰到上面,然后插入排线,把卡扣
车内数据线固定车用线夹子固定扣耳机线卡扣车载排线夹线整理走线
塑料卡扣
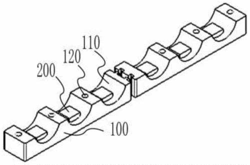
新能源汽车高压线束组合卡扣的制作方法
为你推荐
颓废动漫男头像世间很冷人心很凉
时间过的很快 有些话记得早说 #怀念科比 #篮球壁纸 #手机 - 抖音
拒绝尴尬婚礼,新郎,新娘结婚前必须注意的仪态细节
董璇余下的人生都是我自己的丨人物
马奈油画中的女模特,也是法国最出色的印象派女画家——莫里索
历代副本套装一览
欧式窗户
大渡口产品展示 大渡口充气蹦床桥 大渡口充气桥