图知网
搜索
首页
热门推荐
图片分类
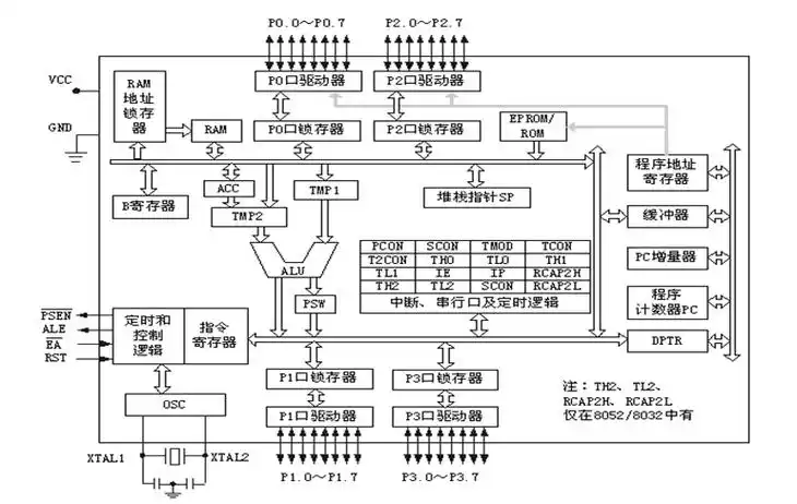
单片机结构框图
下载原图
相关图片
【转载】51单片机---内外结构
89c51/s51单片机结构
单片机结构框图
初识单片机 单片机内部结构与引脚分布 单片机的存储组织结构
简述8051单片机结构与原理
第二章 8051单片机结构
为你推荐
离子结构示意图,阴阳离子的结构示意图与原子结构示意图的的区别,分子
《炫彩多功能万能充变灯老款老式夹子电池充电器带usb万能通用型 万能
办公室客服
百益 麝香壮骨膏10贴/盒 一盒
卡通发条矢量图
戎戎55做的秘制酱鸭
核雕手工艺人——王文,核雕作品《十八罗汉》鉴赏