图知网
搜索
首页
热门推荐
图片分类
跪求简支外伸梁的反力和弯矩答案?
下载原图
相关图片
基础梁主筋梁外伸
急.急.求此外伸梁的剪力方程和弯矩方程
三工区(延和路-魏都大道西侧),主线5联箱梁现已完成3联,目前
求外伸梁的内力图
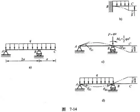
用叠加法计算图7-14a所示外伸梁截面a,b的转角与截面c的挠度.
如何画那个变截面的外伸梁梁顶一平的那种
为你推荐
誓言永恒海报正式曝光未受续集门影响
千纸鹤
泰国郭富城宣布结婚!分手9年「女神级女友」……速娶新欢当人夫
帅气2021超短发图片女 清新短发范本照着剪不出错
远足
钢琴谱:d大调卡农
legalhigh2新垣结衣黛真知子动图表情包
手机测评三星galaxys21fevsgalaxys20fe对比测评