图知网
搜索
首页
热门推荐
图片分类
各位老师这个图例是自动排气阀
下载原图
相关图片
这个屋面的自动排气阀有多高?
精选阀门自动排气阀图
给水系统图里面这个自动排气阀一般距地高度多少?
消防给水的自动排气阀一般高度是多少
zsfp25 zsfp25消防电磁自动微量排气阀组
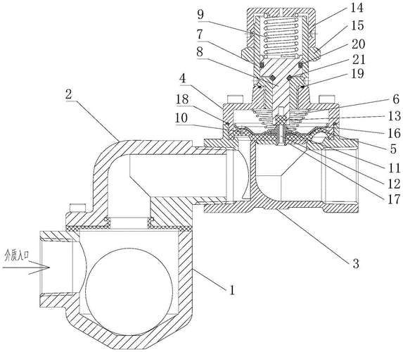
cn209654715u_一种新型排气阀
为你推荐
张嘉译前妻颜值碾压现任二人分手成谜是凤凰男
月食形成图
李丹,cctv6电影频道主持人李丹,年毕业于中国传媒大学,现为中央电视台
干净又高级的微信头像 分享一组超简单干净的微信头像,男生女生通用
我的世界乐高拼装益智玩具兼容乐高幻影忍者积木村庄房子儿童树屋
轻奢推拉门衣柜家用卧室简约现代移门衣帽间柜子组合定制一门到顶 两
中国进出口银行河北省分行打造荣誉墙助推团队建设
王者荣耀妲己ai图集绘画动漫二次元手机电脑高清壁纸