图知网
搜索
首页
热门推荐
图片分类
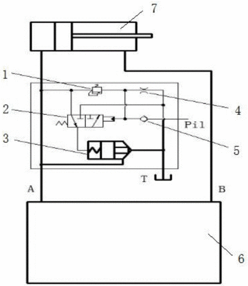
谁懂图中这个力士乐卸荷阀
下载原图
相关图片
cn101469725a_先导式卸荷阀失效
液压密封件中的二位二通换向阀卸荷回路结构图
cn87213516u_容积泵用自动卸荷阀失效
汽车多功能卸荷阀
挖掘机油缸用回油卸荷阀制造技术
卸油阀的制作方法
为你推荐
比较成熟的稳重低调情侣头像
古典战争兵器卡通图片
写在哥斯拉大战金刚之后
奇异的自然风景锁屏高清桌面壁纸下载
沙漏型身材
弦恋旗舰店天猫游戏王钥匙扣千年积木神器项链套装动漫锡杖智慧轮眼
关于开通公交35路的通告
今日导演@李牧鸽与李木戈 和制片人@五星_apple 秦放__财经头条