图知网
搜索
首页
热门推荐
图片分类
王者荣耀霸气昵称王者荣耀霸气昵称符号 干掉吕布日貂蝉 乱战情魔 剑
下载原图
相关图片
id #网名 #王者 - 抖音
王者荣耀情侣网名
王者荣耀好听女生昵称集锦
适合女生的王者网名id
王者荣耀高冷简短名字大全
王者荣耀女生名字
为你推荐
俄国画家列维坦风景油画《深渊》的作品鉴赏
海贼王七武海全家福,高清图片 - ipad壁纸
中苏友谊海报赏析
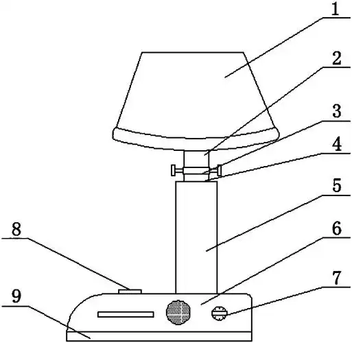
一种智能护眼led家居台灯
soul和uki相互起诉__凤凰网
月刊少女野崎同学佐仓千代千代酱 派拉斯可爱 动漫等身抱枕 原创
考试表情图片大全
篆刻艺术〗中国历代闲章集粹(二)