图知网
搜索
首页
热门推荐
图片分类
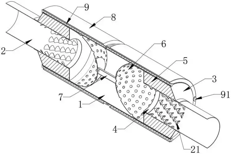
复合消声器结构图 复合消声器中,霍姆赫兹消声器一般用于低频消声
下载原图
相关图片
消声器结构
穿孔板式消声器结构示意图.png
一种汽车消声器-爱企查
一种用于汽车消声器中消的制作方法
消声器原理 消音器的原理与构造插图1
一种摩托车的消声器制造技术
为你推荐
看我小时候好看不
骑行318川藏线,成都-大塘,晒成红烧猪蹄 #骑行318川藏线 #拉萨 #318
bxg - 十三妹妹
辣妹日记5 我让你真诚一点 不是让你告诉我你有249个前任 - 抖音
港风招牌字体设计教程
何超莲冲浪展露好身材还不忘宣传环保理念不是明星胜似明星
美图清样61袁娅维198461湖南怀化
儿童创意简笔画,小松鼠#亲子简笔画 #一起学画画 #儿童画作 - 抖音