图知网
搜索
首页
热门推荐
图片分类
苏州博物馆
下载原图
相关图片
苏州博物馆一角(原创)
苏州博物馆—2019年10月25日
苏州博物馆分析二
苏州博物馆西馆
苏州博物馆分析
苏州博物馆几何设计之美
为你推荐
攻壳机动队草薙素子
原创宋佳是一个东北女孩性子直爽她优雅性感一点不像40岁的人
1994~1996年,周润发跟成龙轮流发力,《赌神2》《红番
方脸圆脸适合什么发型拯救大脸女生短发
宝格丽庆祝第五大道精品店重装盛启 莉莉·奥尔德里奇出席
全勇国画山水乡村老屋
外研版一起一年级下册module8unit1theresapairofshortsunderthatduck
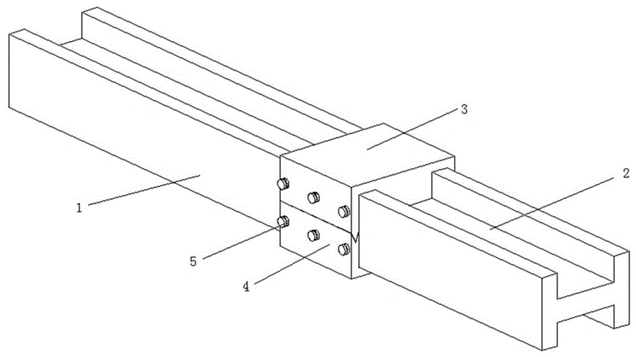
一种便于组装的钢结构横梁