图知网
搜索
首页
热门推荐
图片分类
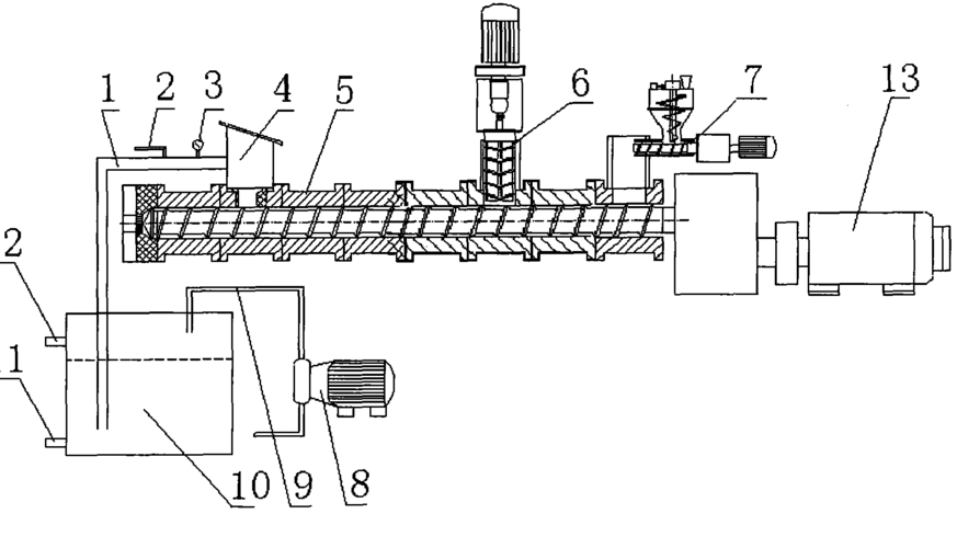
一种高效脱水排汽的双螺杆挤出机
下载原图
相关图片
cn203220892u_一种向上出料的双螺杆挤出机有效
双螺杆挤出机设计毕业设计
cn101954731a_一种双螺杆挤出机失效
异向平行双螺杆挤出机的齿轮传动结构
一种双阶挤出机的制作方法
一种具有自动补料功能的双螺杆挤出机的制作方法
为你推荐
来源:超级明星
二级保护动物_网易订阅
郑爽未修图流出,脸颊凹陷撞脸刘雯
带露的荷花,在晶莹剔透的露珠点缀下,显得格外娇美,美的令人窒息,不忍
田英章最巅峰的楷书作品,书中华经典处世楹联,字字珠玑笔笔入骨_书法
凯里欧文的素描头像视频绘画及其步骤
往事难忘(初级简单版)吉他谱图片格式六线谱-明明简谱网
远洋庄园