图知网
搜索
首页
热门推荐
图片分类
三青漆福建升大涂料有限公司企业宣传介绍
下载原图
相关图片
三青水性金属漆防锈漆户外铁栏杆门窗暖气片油漆防水防腐蚀涂料防锈
三青 外墙漆乳胶漆家用家装建材基材防晒涂料室外防水通用自刷油漆改
三青 油漆 油漆 漆
三青净味内墙面漆白色65kg白色乳胶漆翻新漆油漆涂料水性环保漆
三青漆旧柜子翻新漆木质衣柜木头改色家用木漆水性木器漆油漆喷漆
三青漆瓷砖漆专用三清漆玻璃改色油漆大理石卫生间地砖翻新漆喷漆
为你推荐
尊龙为什么喜欢陈冲 曾自曝多年未婚的原因
桂林山水风景,#图文热点来了 , 桂林山水,天造地设的自然奇 - 抖音
2021年元旦数字设计图片
几百年没开过花的石头地,是他们无法离开的家乡
陆丰甲子港约11海里处发现一具男尸
内蒙古森林消防
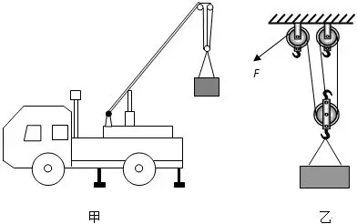
如图甲所示是某校暑假修理楼顶防水使用的一台汽车起重机示意图,起重
张毕湖公园规划图.