图知网
搜索
首页
热门推荐
图片分类
三月份绿色柳枝高清图片桌面壁纸下载
下载原图
相关图片
风吹柳枝.jpg
春光柳枝
柳枝
柳枝
柳枝发芽了
一抹新绿的柳枝勾起了儿时的回忆
为你推荐
杨洋小可爱
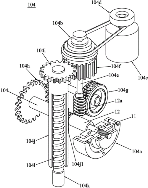
cn203936483u_攻牙机有效
王一博电脑壁纸 - 抖音
北宋钧窑天青釉红彩玉壶春瓶 让瓷器变美的四种方法 定窑白釉划花钵
和闺蜜合照的沙雕姿势#get了新的拍照姿势.
深情的qq网名doc19页
黑色眼镜框男潮ins风复古大框眼镜男网红素颜镜框大脸眼镜近视
二次元动漫图片双人半身