图知网
搜索
首页
热门推荐
图片分类
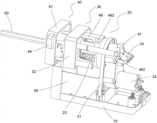
一种削笔器刀架的制作方法
下载原图
相关图片
手牌sdi转笔刀削笔器卷笔刀金属削笔刀手摇式削笔机0153红色金属削笔
得力(deli) 68658电动卷笔刀(蓝)(粉)(只)
一种全自动卷笔刀的制作方法
削笔器的制作方法
卷笔刀的制作方法
附图
为你推荐
帅气动漫版男孩图片头像
关于猪的整人套路表情包合集
红樱凤凰踏梦来#|赵丽颖出道十七周年联合应援||照夜清61赵丽颖角色
搞怪女头丨申请做你的专属头像99 #搞怪头像# #搞怪沙雕头像
昆虫记彩铅画绘画素材积累
安徽女演员徐婷患淋巴癌凄惨离世!似"安徽版樊胜美" !
我弟弟说他们班级总是说他丑,可是我觉得还可以啊
多肉植物金钱木大老桩【金钱木老桩 陶瓷花盆 营养土】带盆栽好发