图知网
搜索
首页
热门推荐
图片分类
建湖县鸿达阀门管件有限公司2014-03-191420556711-灯具空调商标注册
下载原图
相关图片
盐城市人民政府 盐城要闻 曹路宝到建湖调研乡村振兴和石油装备产业
2015-07-10建湖县鸿达阀门管件有限公司建湖县鸿21740227206-金属材料
建湖县鸿达阀门管件有限公司
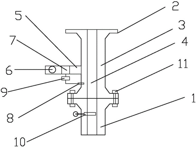
建湖县鸿达阀门管件有限公司专利申请_专利号cn201520533894.
专利 建湖县鸿达阀门管件有限公司 专利详情 申请公布号 cn205477498u
江苏建湖鸿达阀门管件有限公司
为你推荐
天主教的标志图片
两个双联双控开关怎么控制一个灯?
哆啦a梦|手机|我的礼物|壁纸_网易订阅
医生蒋传路:二次逆行 站好最后一班岗
2.样品主要营养成分的测定ppt_word文档在线阅读与下载_免费文档
哮喘拔罐示意图 哮喘患者在饮食上有哪些宜忌
可爱的灵公主
0921枇杷立轴设色纸本