图知网
搜索
首页
热门推荐
图片分类
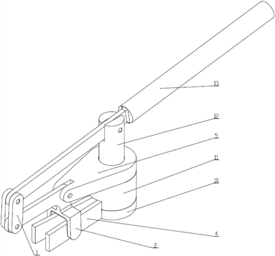
一种孔用钢丝挡圈的安装装置的制作方法
下载原图
相关图片
波斯精品挡圈钳13325mm轴弯bs213133
钢丝挡圈卡簧钳图片
一种孔用钢丝挡圈快速安装装置的制作方法
厂家直销 国标65mn镀锌 轴用钢丝挡圈 o型开口 各种规格非标定制
欧帝斯外卡内卡弯头轴用7寸挡圈卡簧钳弹簧安装拆卸钳夹持类工具
四合一卡簧钳挡圈钳外卡内卡弯头轴承用弹簧安装拆卸卡环黄钳工具 7寸
为你推荐
5mm自动铅笔|a4素描本#寻找小红书绘画大神 #简笔画教程 #线稿
软妹头像动漫可爱 高清好看的软萌可爱女生二次元动漫头像
杭州植物园
小红薯小助手 #小红薯队长 #凹凸世界安莉洁 原创/参考#安染97
整个肩胛骨及上肢与躯干的骨性连接,就只通过这个小小的肩锁关节,锁骨
冰雨_简谱_搜谱网
为梦想扬帆起航工作汇报ppt模板
8月14日,林心如在七夕当天晒出与老公霍建华外出喝咖啡的照片,秀恩爱