图知网
搜索
首页
热门推荐
图片分类
台式电脑显示器的lcd灯管改为led灯条如何接线?
下载原图
相关图片
简单又便宜的门头led条屏
lcd接线图
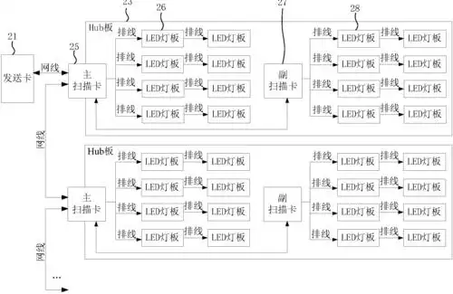
cn105551430b_led箱体和led显示屏系统有效
首页 技术资料 基础电子 光电显示/led照明 三星32英寸液晶屏背光灯
lcd液晶屏背光灯升压电路
3,led灯管g13灯脚插入支架槽内,旋转90°角,使灯管pc罩面背向支架
为你推荐
周杰伦壁纸图片
帅的@uniq-王一博 67王一博微博电影之夜红毯图黑色小香风外套造型
冰裂纹铝窗花与木质窗花的优缺点
马超!
jojolion壁纸
复旦大学图片介绍
lisa冒险参加疯马秀,回报丰厚,维密伸出橄榄枝,lv推出
所以我做了这份"勇敢面对挫折"的手抄报,提醒自己无论何时都要坚强