图知网
搜索
首页
热门推荐
图片分类
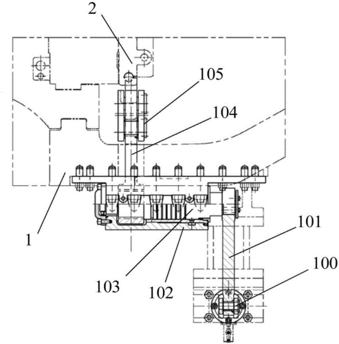
单抽24wm汽轮机第四级隔板的铸造
下载原图
相关图片
用于节流配汽全周进汽方式的旋转隔板的制作方法
一种汽轮机旋转隔板调节结构的制作方法
汽轮机振动与轴承温度压缩机高压缸止推瓦温度偏高原因分析及处理
汽轮机结构及原理知识培训ppt
汽轮机设备与原理.doc 166页
汽轮机原理(6汽轮机主要零部件结构)ppt
为你推荐
4k-黑天使之翼3款(alpha通道)
白敬亭海边大片##白敬亭度假穿搭
从何琳到董洁,再到倪妮和舒淇,陈坤似乎总是能和娱乐圈中的女明星们扯
第一眼就吸引人的漂亮小姐姐头像
人民出版社出版的《资本论》中文版. 资料图片
这款酷宝鳄鱼纹皮烟盒真的太好看了!不仅便携,而且可以装20支 - 抖音
【充气男娃娃帅哥】充气男娃娃帅哥品牌,价格 - 阿里巴巴
电视柜小户户型现代简约家用北欧组装客厅地柜卧室电视柜