图知网
搜索
首页
热门推荐
图片分类
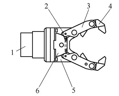
数控机床装夹机械手的研制【含cad图纸 文档】
下载原图
相关图片
利用三维绘图软件进行实体建模,并对所设计的抓手结构进行受力分析
一种自行消除应力感控机械手爪的制作方法
cn206536492u_一种柔性两指构型机械手有效
一种手爪平行开闭的机械手的制作方法
停9手爪机械结构
一种单驱动联动式可变形机械手爪
为你推荐
干净漂亮气质长发女生头像图片大全
为艺术献身的女星-"绯红女巫"伊丽莎白·奥尔森|旺达|演员|好莱坞
20张漂亮又有创意的线描作品赶紧收藏吧
明星婚纱造型圣洁美好 宋茜尼坤亲昵暧昧(图)
【原创】等你,2017年的第一场雪
福建省三明市纹身店众刺青的纹身作品集
极兔速递郎溪分公司招聘收派员
膝部约束带躁动病人卧床老人无意识起床腿部束缚带绑带保护带