图知网
搜索
首页
热门推荐
图片分类
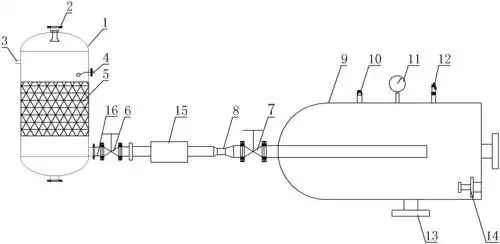
溶气罐装置制造方法及图纸
下载原图
相关图片
cn86209262u_卧式压力溶气装置失效
背景技术:现有的工业废水处理气浮溶气罐装置主要有立式溶气罐和卧式
去气浮池 空压机供气式溶气系统 吸水井·吸水管空压机水泵溶气罐压力
cn105329968a_一种多级溶气罐有效
型号 mm 流量(m3/h) 工作直径 mm 0.15mp 0.2mp 0.25mp 0.3mp 0.
cn105329969a_一种射流溶气装置失效
为你推荐
"李现"主演的5部剧,各位现女友是从哪部剧开始认识他的?
男人专用微信头像招财 2020男人最招财的微信头像大全 - 微信头像
关于私自刻制 上海辉盈电子有限公司印章的严正声明
优秀logo设计小集
小舞头像
白色毛笔字健身型动健身艺术字
张艺谋长子南加州大学毕业,与奥巴马女儿同届,次子读耶鲁更厉害_陈婷
wang yibo | 肖战 xiao zhan】【博君一肖】《水の语》梦中浴缸play