图知网
搜索
首页
热门推荐
图片分类
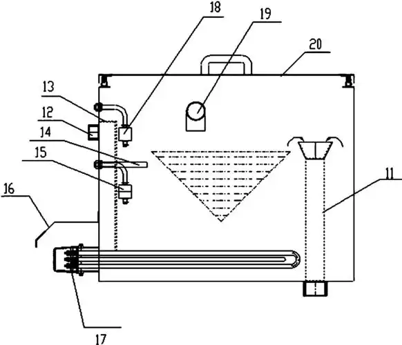
一种超声波清洗机的制作方法
下载原图
相关图片
价销售小型超声波清洗机 m3000 超声波清洗仪 超音波清洗机
超声波清洗机的配置
超声波清洗机设备结构,工作原理
一种自动超声波清洗机高位水箱以及包含该水箱的清洗机
风循环超声波清洗机的制作方法
一种超声波清洗机制造技术
为你推荐
我怕来者不是你 歌曲配乐 紫色圆发光灯管穿梭灯光秀动感歌舞表演劲爆
versace范思哲晶钻女士香水90ml香甜清新优雅植物香调淡香水ol办公
电脑壁纸 动漫卡通 动漫人物 鬼刀冰公主
景点美绝了# 江西这个被人低估的宝藏省份可以去看看, 江西旅游相比
独立纵队头像3
学校不文明现象
智高转转笔光影雷电系列转笔广告款转笔大赛专用笔防滑耐摔 益智创意
大阪城内丰臣秀吉的雕像.