图知网
搜索
首页
热门推荐
图片分类
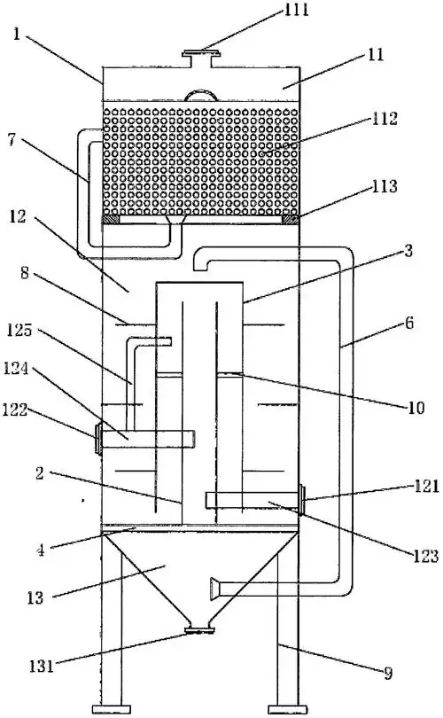
芬顿催化氧化反应器及其高难度工业废水处理方法
下载原图
相关图片
高级催化氧化fenton芬顿反应器设备工艺图纸
一种改良型芬顿反应器装置
某废水处理项目高级催化氧化fenton芬顿反应器设备工艺图纸1
cn211069900u_一种高效率流化床芬顿反应器有效
一种超声强化同步沉淀类芬顿反应装置
一种磁性三相芬顿反应器的污水处理方法及设备与流程
为你推荐
汽车销售服务公司简介
旗袍女童夏季中国国风改良中大小女孩儿童鱼尾旗袍
汉服男古装古风男士仙气原创情侣款古装侠客书生青少年黑色 浮云笙
朱顶红精灵昨日与今日对比
宝格丽sp灵蛇双色单圈戒指
瘦了30斤堪比整容从130到100斤的减肥经验分享
12张船舵船锚纹身图案
国潮中国风这个发型有点配pk海马体