图知网
搜索
首页
热门推荐
图片分类
按压式弹性自锁机构,原理真的很巧妙
下载原图
相关图片
微型按压自锁扣图纸
cn101131525b_两段式按压结构失效
一种车窗按钮档位按压结构制造技术
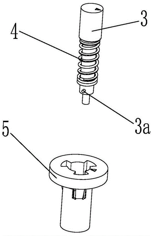
本实用新型涉机械结构技术领域,具体涉及一种用于按压触发解锁的组件
cn201017795y_按压式开关结构失效
按压弹出结构及电子设备的制作方法
为你推荐
技法探索 | 白描技法·人物(七)_中国书画报_零二七艺考
学做解放军 儿童歌曲 歌谱 简谱
儿童画教程探索冬天的奥秘之小动物在冬眠
梦宇装饰品牌logo设计.梦宇装饰品牌logo设计 字母my - 抖音
abt奥迪rs7这大灯有谁不服?
[原文:免打孔伸缩窗帘杆怎么安装.
1,缓解类风湿性关节炎,骨关节炎,脊柱关节病,痛风
衢州农家菜拍摄 菜品拍摄