图知网
搜索
首页
热门推荐
图片分类
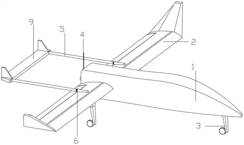
一种高空长航时固定翼飞机机翼翼型
下载原图
相关图片
飞行器,机翼,符号,迅速,图像
自己手绘裁剪的纸片机翼模型,希望各位飞友为我评价和建议#飞机 - 抖
三视图,机翼的结构可以调整,机身细长,机头非常尖锐.
固定翼飞机机翼配置鸭-飞机
a320 飞机维修手册中的fr是什么意思
一种复合材料无人机的机翼结构
为你推荐
拉旗周岁派对宝宝背景墙场景布置装饰品儿童生日快乐字母彩旗063
很字的笔顺动画
如果有人要看或摸我们的隐私部位,或者要我们看或摸他的隐私部位,我们
《戴厨师帽的男子》高更高清-世界名画_美术网 mei-shu.com
迪奥先生 #这漫画太好看啦 #张臣扉 ##焦栖 #从漫画里 - 抖音
奥运福娃简笔画奥运福娃简笔画步骤
希尔顿山东产
回顾大爷撞名支付宝向阿里巴巴索赔100万马云给了吗