图知网
搜索
首页
热门推荐
图片分类
心形盒,五边形盒,六边形盒是今年七夕各大品牌选择最多的几种精品礼盒
下载原图
相关图片
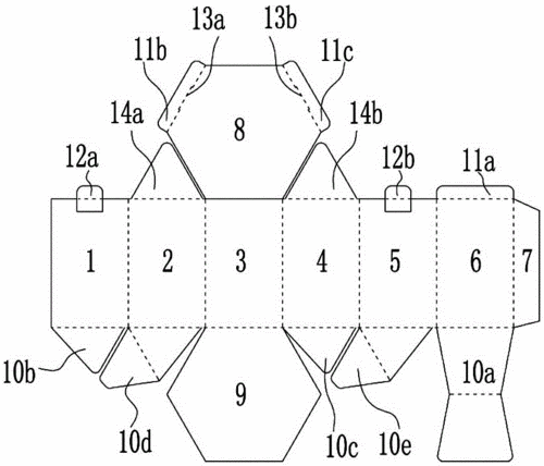
一种简易成型的六边形包装纸盒的制作方法
六边形瓦楞包装礼盒制造技术
六边形纸盒折法六边形折纸带盖纸盒六边形纸盒展开图六边形盒子的折纸
一种六边形的包装纸盒
六边形长方体纸盒包装设计样机 hexagonal box mockup – 设计小咖
护肤品六边形纸盒定制 化妆品六角形 异形金银卡包装纸盒子定做
为你推荐
易烊千玺新歌微醺感##易烊千玺粉色毛衣生日写真
fghgf成品闲章青田石头书法书画印章篆体藏书国画篆刻字印章方形压角
哥哥张国荣
古风男生头像 好看的![得意] #头像# #魅世海棠# #corrupt乄雨霖铃
【葡萄牙艺术字】图片免费下载_葡萄牙艺术字素材_葡萄牙艺术字模板
古风手机壁纸
许佳琪 - 堆糖,美图壁纸兴趣社区
sans像素图3(持续更新)_素材_素材_素材其他