图知网
搜索
首页
热门推荐
图片分类
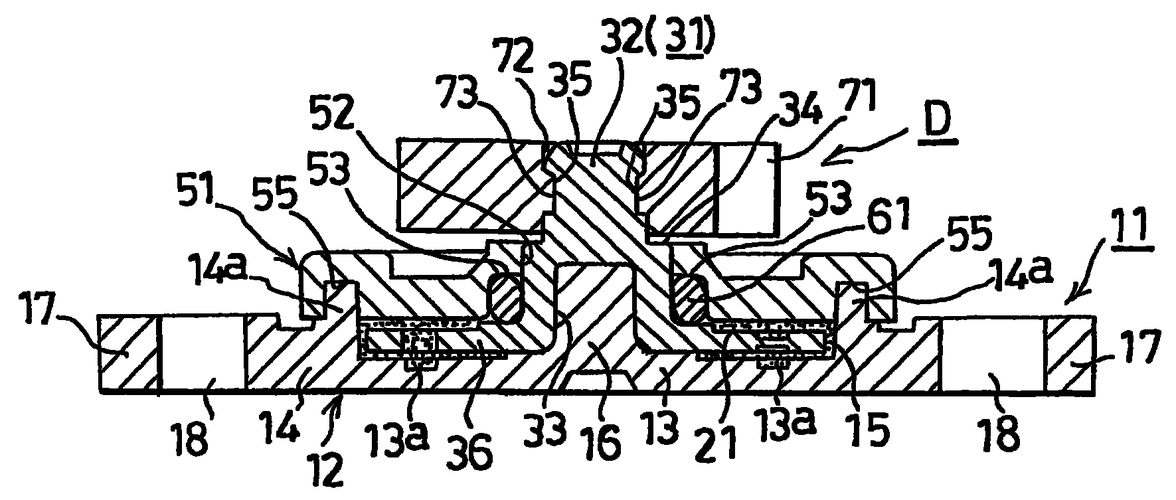
一种座式内旋转型轴向电涡流阻尼器的制作方法
下载原图
相关图片
多功能笔记本翻转轴sc87512阻尼可调180度限位笔记本转轴
360度旋转圆盘阻尼转轴 小型可调扭矩铰链 阻尼器 任意停合页
阻尼转轴结构
多段式转轴结构
一种阻尼转轴及管状臂阻尼悬停结构
cn1853054a_旋转阻尼器有效
为你推荐
图传陈慧娴有两个儿子揭秘一代歌后的三段恋情
男生咖啡色头发图片
活动小组确定主题海报的颜色色彩,并根据确定的颜色去寻找地球上适合
韩天泓国画艺术赏析-泼彩荷花
马桶安装方法图解马桶怎么安装
乌兹冲锋枪
peek 连续碳纤维增强热塑性预浸料单向带生产线(cfrtp-ud 带)