图知网
搜索
首页
热门推荐
图片分类
容声冰箱bcd-563wy-c-y34
下载原图
相关图片
冰箱推荐海尔冰箱选购指南海尔冰箱怎么样如何选2023年11月
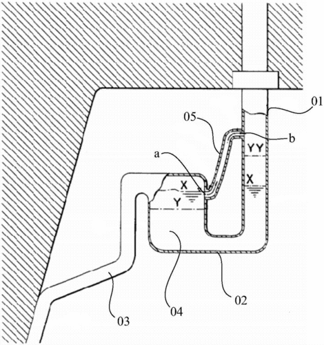
一种冷冻冷藏装置用排水管及冰箱的制造方法
视听娱乐进厨房 测美菱雅典娜三门冰箱
达米尼(damiele)bcd-568wkdzb 568升对开门冰箱带吧台 双开门冰箱 对
cn104913573a_冰箱失效
冰箱日常凝结的水滴就沿排水孔到达底部的出水孔流入储水池(有没有小
为你推荐
感恩母亲,母爱永恒ppt
哈利波特彩铅手绘
电脑壁纸 | 好看的4k超清桌面锁屏_礼物_图文_整理
平平淡淡的主页 - 抖音
牛皮病前兆的早期症状图片_39健康网_精编内容
建构区搭建技巧 可打印
每天一个心理学知识ii蝴蝶效应
玄空易道金光神咒修持大公开