图知网
搜索
首页
热门推荐
图片分类
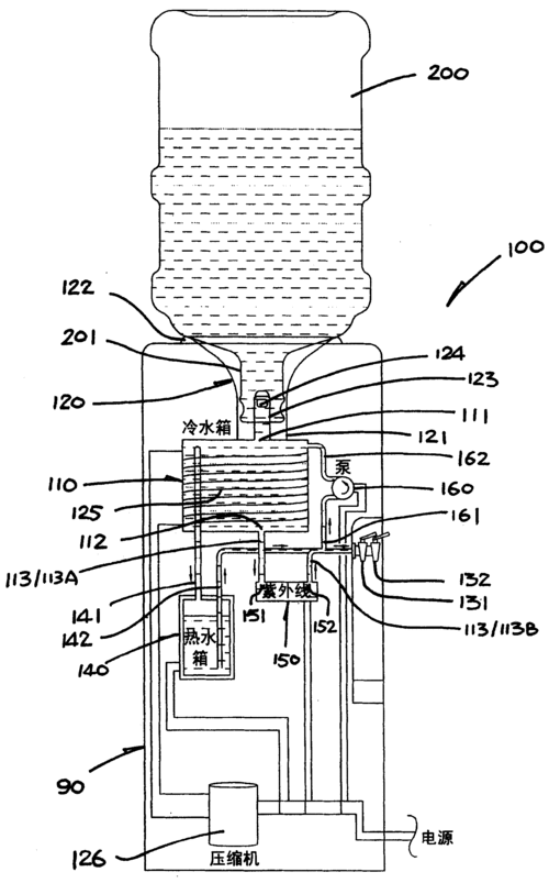
不洗饮水机,可能会让你腹泻,肚痛
下载原图
相关图片
饮水机
宝子们,管线饮水机安装示意图来了,点赞收藏起来哟95#末端饮 - 抖音
饮水机
看图学习饮水机故障维修
ybhzd515127煤矿防爆饮水机厂家直供
新款慈力高档茶吧机 饮水机 立式饮水机 饮水机立式冷热
为你推荐
海边牵手看落日
笑脸头像:今日份甜蜜笑脸头像
173女孩子的最萌身高差
被白夜叉和"齐天大圣"孙悟空及"覆海大圣"蛟刘称作"小迦陵".
猎獾犬这本书的手抄报 书的手抄报
教你制作抖音上超火的心形九宫格拼图,连照片都是爱你的形状
第1首amazinggracee调和弦简谱
老师上课时的简笔画