图知网
搜索
首页
热门推荐
图片分类
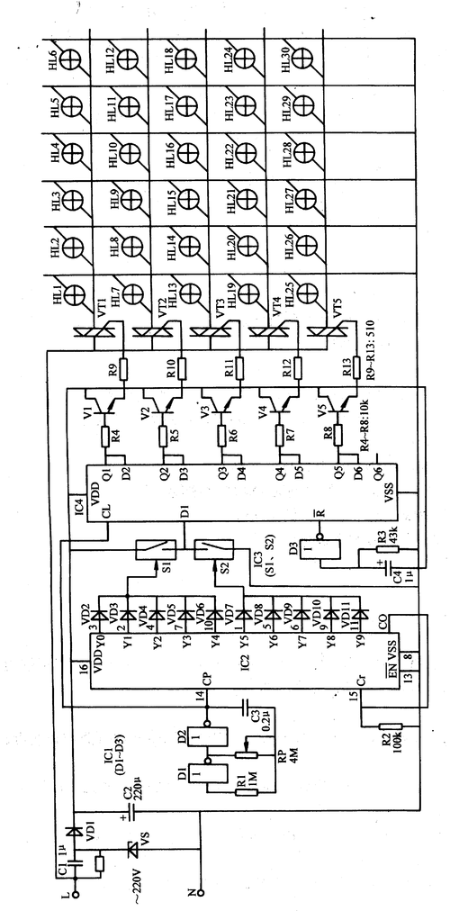
基于nxp混光芯片的rgb led彩灯控制方案
下载原图
相关图片
彩灯控制器电路图大全 - 照明灯电路图 - 电子发烧友网
录音解说词同步控制器电路原理与设计
彩灯控制器 八
一种rgb三色灯控制电路及其控制方法与流程
彩灯控制器电路图大全
16路循环彩灯控制器.doc
为你推荐
p站二次元动漫美女合集超清8k
你爱的一切都将如约而至."我就是要这个世界上,有一束光是为我 - 抖音
四环素牙非常严重怎么治疗
国际护士节,致敬疫苗接种路上最美的白衣天使!_虹桥镇
书籍伴我成长——二(7)班图书借阅公约
花好月圆图片
《赠汪伦》唐.李白.此诗作于玄宗天宝十四载(755),时李白 - 抖音
属鼠是哪一年1900年,1912年,1924年,1936年,1948年,1960年,1972年