图知网
搜索
首页
热门推荐
图片分类
产品/系列-松冈科技(浙江)有限公司_雀友麻将机_雀友麻将桌_雀友理牌
下载原图
相关图片
你知道麻将机中也有霍尔传感器?当然了芯铠来告诉你_智能化_电机_控制
麻将机常见故障及解决办法
麻将机常见故障及解决办法
智能麻将机**安装程序
小梅麻将桌大卖场餐桌式麻将机(竹藤系列)新款热销中
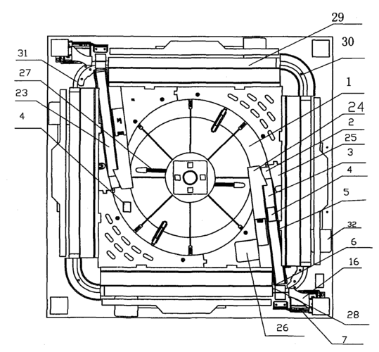
cn201227534y_自动麻将机失效
为你推荐
最帅的男明星排行榜前十名最帅的男明星排行榜前十名名字
无花果叶新鲜无花果叶
其中在初中时首次射精的男生大幅减少,甚至还有人到大学才献出"第一次
娱乐圈身高超过185cm的男明星,最后一位小鲜肉被严重质疑
线路图集经典胆机图集
乐海城市广场
手动挡汽车推荐(盘点口碑极佳的5款合资手动挡车型) 第3张
蜘蛛侠吐丝发射器黑科技绳索线可收回喷射蛛丝的装备潮玩儿童礼物