图知网
搜索
首页
热门推荐
图片分类
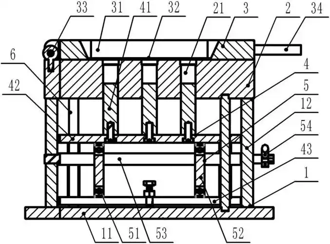
铝压铸件制造为 3d 绘图和样品铸造铅模具铅
下载原图
相关图片
重力铸造模具 重力浇注模具定制 浇注模具工艺 坤泰铸造模具生产知名
一出1铅模具加工定做 冲压磨具
铝压铸件制造为 3d 绘图和样品铸造铅模具铅
5寸铅模具 - 抖音
可调高度的铅酸蓄电池用铅零件浇铸模具
铝压铸件制造为 3d 绘图和样品铸造铅模具铅
为你推荐
开眼角一个月了,内眼角留下一条白色的疤痕,感觉像挡住了眼角一样
v3壁纸站 军事壁纸 战区士兵 壁纸(一) / 壁纸下载 上一张 下一张
转子发动机从不会缺席马自达rx7是必然的结果
武术棍白蜡杆藤棍短棍防身棍红木武术车用防身车载棍棒棍子木棍 藤棍
央视主持人朱广权又出新段子翻唱经典却被质疑修音
特步160x20二代碳板竞速跑步鞋子男鞋运动鞋2021马拉松pb科技运动鞋男
【夜光云】《大逆转裁判1》逻辑向全流程实况 (the great ace
67风云塑李象群雕塑艺术展