图知网
搜索
首页
热门推荐
图片分类
电镀污泥回收如何更彻底 更有效 仍是如今面临的一大难题!
下载原图
相关图片
电镀污泥1
电镀污泥干燥设备-工作现场视频
解密威凌菲斯智能型电镀污泥专用烘干机能为企业创造多大的效益
电镀污泥电镀水处理污泥属于什么垃圾分类
威凌菲斯电镀污泥烘干机丨1吨电镀污泥省2000元丨工业污泥低温干化
非法倾倒电镀污泥700余吨危险废物重罚600万
为你推荐
手绘足球墨西哥队球衣球服卡通
玉碗镇石灰村:小小珍珠李 串起脱贫梦
《答司马谏议书》 ·高一语文必修下 ·作者:王安石
针织衫女修身弹力短款冰丝绿色短袖恤锁骨上衣打底衫蓝色s建议7595斤
板绘画完了青蛇之后这次画个白蛇把
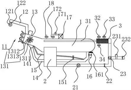
一种高温高压溢流染色机的制作方法
标识牢记心中一一第二小学二年级安全课手抄报制作展示
搞笑小黑人头像点击鼠标右键下载