图知网
搜索
首页
热门推荐
图片分类
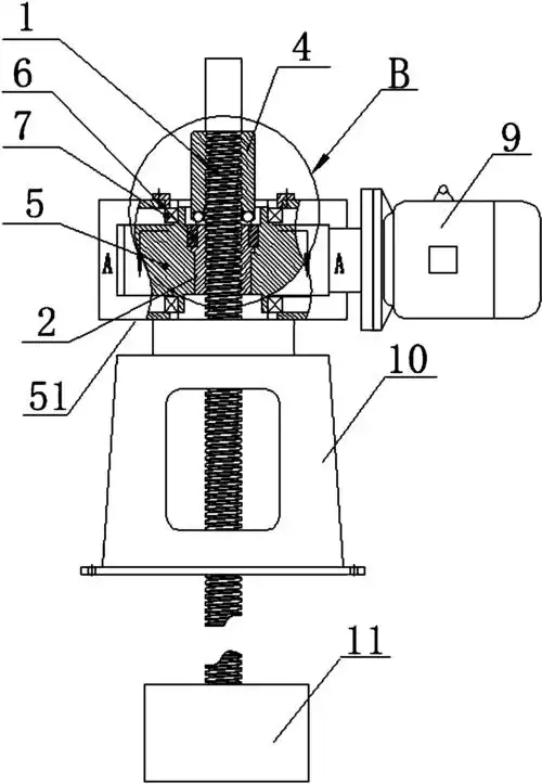
侧摇式螺杆启闭机
下载原图
相关图片
qlzs系列锥齿轮式手摇螺杆启闭机
一种螺杆启闭机及其工作方法
5吨手推螺杆启闭机详图
qlcf封闭系列侧摇螺杆启闭机
ql型手电两用螺杆启闭机
供应lq型手推螺杆式启闭机
为你推荐
三格_拼接壁纸《文字壁纸》"《美女壁纸》
低调内敛是他们的标签简约而个性十足的黑白系高清男性头像
简单可爱的卡通图案个性创意图片桌面壁纸高清下载 第二辑
动感造型超时尚:2020款西雅特cupra formentor suv__凤凰网
2016《中国新歌声》从这一年起,好声音改名为新歌声,而汪峰继续担任
粘土 #粘土手工 #圣诞节 #粘土人物浮雕画 #粘土冰箱贴 - 抖音
假面骑士g4