图知网
搜索
首页
热门推荐
图片分类
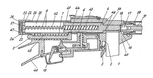
【每日一图】喷雾瓶隐藏的机械原理,你可知?_水就会_扳机_时候
下载原图
相关图片
动画图解格洛克手枪的工作原理,解开了多年的困惑!
燧发枪的射击原理,黄色的是打火燧石17世纪中期,法国的一名枪炮工匠
一种扳机结构图-其他视频-搜狐视频
拉斯维加斯枪击案的速射神器:将半自动步枪改成全自动的撞火枪托_扳机
两道火扳机原理,提醒射手:再抠下去就击发了
苏奥米m31式冲锋枪采用自由枪机式工作原理,开膛待击,可卸枪管和拉机
为你推荐
唯一真正拥有过赵丽颖,冯绍峰也曾满眼都是老婆,如今却只剩回忆
为了做好一颗牛肉丸,他们从活牛开始严格筛选!
盘点香港僵尸片六大道长第一名风华绝代的英叔
柯南的萌动图片,要最萌,最可爱的
绘英雄风采 展民族精神——哈尔滨市美术教师线上抗疫主题绘画作品展
瑞文测试怎么换算智商?
男生头像丨可乐汽水04丨超级可爱!
蛋白糖化,然后可怕的皱纹,暗沉也就慢慢产生了,这就是"黄脸婆"的来源